Honda Motor Ciptakan Fitur Mirip Fitur Lane Keep Assist pada Mobil untuk Roda Dua
Teknologi keselamatan elektronik yang dibuat Honda Motor. (Istimewa)
12:36
30 Desember 2025

Honda Motor Ciptakan Fitur Mirip Fitur Lane Keep Assist pada Mobil untuk Roda Dua

- Inovasi teknologi keselamatan terus dilakukan Honda terkait sistem bantuan kemudi sepeda motor. Bahkan Honda juga mengajukan paten inovasi teknologi yang dibuatnya.

Sistem ini memungkinkan motor berperan aktif dalam menentukan arah jika sistem mendeteksi adanya bahaya yang terlalu dekat, bertujuan untuk mengurangi risiko kecelakaan pengendara motor.

Teknologi keselamatan elektronik sejauh ini telah dikenal mampu menyelamatkan nyawa, mulai dari ABS, traction control, wheelie control, hingga airbags. Berbagai inovasi ini telah terbukti efektif dalam menekan angka kecelakaan, baik pada kendaraan roda dua maupun roda empat.

Namun, semua teknologi tersebut dirancang untuk mendukung keputusan pengendara, bukan menggantikannya. Menurut laporan dari Visordown (30/12), paten terbaru dari Honda melangkah lebih jauh.

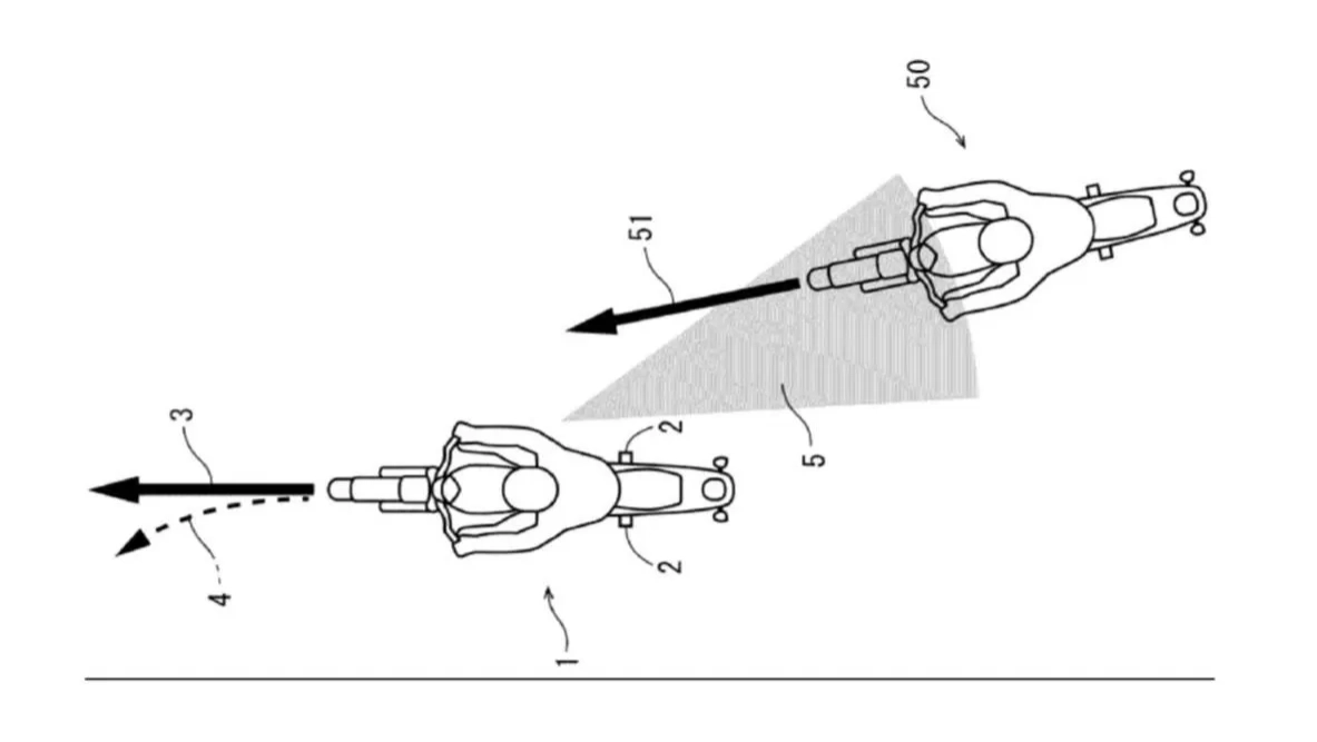
Disebutkan dalam dokumen paten yang diajukan, bahwa sistem kemudi darurat yang mengandalkan kamera, teknologi deteksi titik buta, dan kontrol kemudi untuk secara aktif mengarahkan motor menjauh dari potensi bahaya.

Sistem ini mirip dengan fitur lane keep assist pada mobil, namun kali ini diterapkan pada sepeda motor—sebuah pendekatan yang dianggap jauh lebih sensitif dan kompleks.

Ada dua skenario dalam penerapannya yaitu pertama, bila sistem mendapati pengendara sudah bereaksi melalui pengereman, berbelok, atau pengaturan gas, maka bantuan kemudi hanya bersifat mendukung dengan tujuan menstabilkan arah kendaraan. Skenario kedua terjadi jika pengendara belum menyadari ancaman di depan.

Pada situasi ini, bantuan kemudi akan bertindak lebih aktif membantu menghindari bahaya tanpa memicu kepanikan atau mengganggu keseimbangan pengendara. Secara teoretis, ide ini terdengar cerdas.

Namun, dalam praktik nyata, berbagai pertanyaan mulai bermunculan. Hal ini disebabkan karena pengendaraan sepeda motor sangat bergantung pada kesadaran situasional dari pengendaranya.

Editor: Dony Lesmana Eko Putra

Tag:  #honda #motor #ciptakan #fitur #mirip #fitur #lane #keep #assist #pada #mobil #untuk #roda

KOMENTAR