Apple Bikin Casing Unik yang Bisa Langsung Konek ke Satelit?
Perbandingan desain dari iPhone Air (kiri) dan iPhone 17 Pro Max (kanan)(KOMPAS.com/Caroline Saskia Tanoto)
18:03
23 Februari 2026

Apple Bikin Casing Unik yang Bisa Langsung Konek ke Satelit?

- Apple dikabarkan tengah mengembangkan casing khusus untuk iPhone yang bisa meningkatkan konektivitas satelit.

Informasi ini terungkap dari dokumen paten yang diajukan Apple pada 2024, yang baru-baru ini mencuat ke publik.

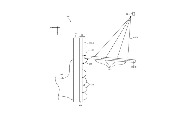
Dalam dokumen paten berjudul Electronic Device and Case with Satelite Communication Capabilities, Apple mengajukan ilustrasi yang menggambarkan konsep casing dengan desain khusus. 

Berdasarkan gambar ilustrasi, casing tersebut hadir dengan dengan antena tambahan yang berfungsi membantu perangkat menangkap sinyal komunikasi satelit.

Antena itu ditempatkan pada bagian tertentu yang dirancang fleksibel, yakni bisa dibuka atau dilipat ke arah atas.

Baca juga: Nothing Kirim Undangan Peluncuran Tidak Biasa, Poster Apple Dicorat-coret

Apple menjelaskan, fleksibilitas ini berfungsi untuk mengarahkan susunan antena phased array internal ke langit. Dengan begitu, perangkat dapat menangkap sinyal satelit dengan lebih optimal.

Konsep desain yang diusung juga dimaksudkan untuk mengurangi gangguan sinyal akibat sentuhan tangan pengguna. 

Pasalnya, pengguna tidak akan menyentuh langsung bagian casing yang memuat antena, karena antena berada di komponen yang dapat dilipat tersebut.

Ilustrasi desain casing iPhone dengan antena satelit yang diajukan Apple dalam dokumen paten Electronic Device and Case with Satellite Communication Capabilities. Ilustrasi desain casing iPhone dengan antena satelit yang diajukan Apple dalam dokumen paten Electronic Device and Case with Satellite Communication Capabilities. Dalam dokumen patennya, Apple juga menyebut bahwa casing dengan antena khusus tersebut berpotensi mengirimkan data nirkabel ke perangkat melalui konektor frekuensi radio (radio-frequency connector). 

Selain melalui konektor frekuensi radio, Apple juga menyinggung terkait adanya kemungkinan metode komunikasi lain, yaitu NFC. Opsi ini digunakan untuk mendukung pertukaran data atau fungsi tambahan terkait konektivitas satelit. 

Baca juga: Apple Gelar “Apple Experience” 4 Maret, iPhone 17e Ikut Rilis?

Bisa dilepas-pasang

Apple menjelaskan casing dengan antena khusus ini tetap berfungsi layaknya casing pelindung biasa. Aksesori tersebut dapat dipasang dan dilepas oleh pengguna sesuai kebutuhan mereka. 

Dalam dokumen paten yang sama, Apple juga menyebut bahwa konsep casing dengan kemampuan komunikasi satelit ini tidak hanya ditujukan untuk perangkat iPhone saja, tetapi berpotensi dikembangkan untuk perangkat lain seperti iPad

Meski demikian, perlu dicatat bahwa pengajuan paten tidak selalu berujung pada produk komersial.

Banyak paten Apple yang bersifat eksplorasi konsep/proof of concept saja, dan tidak semuanya direalisasikan menjadi produk yang dipasarkan ke konsumen. 

Apple sendiri juga belum memberikan konfirmasi resmi apakah casing iPhone dengan dukungan konektvitas ke satelit ini akan benar-benar mereka produksi dan dirilis secara resmi di masa mendatang, sebagaimana dihimpun KompasTekno dari GSMArena. 

Tag:  #apple #bikin #casing #unik #yang #bisa #langsung #konek #satelit

KOMENTAR