



Bocoran Paten Ungkap Samsung Galaxy Z TriFold Punya Tiga Baterai
- Samsung diyakini menyiapkan ponsel lipat tiga bernama Galaxy Z TriFold. Bocoran tentang ponsel ini juga cukup banyak beredar di internet, mengungkap spesifikasi hingga desain perangkat.
Bocoran terbaru terungkap dari gambar paten yang dibagikan oleh KIPRIS (Korea Intellectual Property Information Search), layanan informasi paten dan kekayaan intelektual gratis yang tersedia secara online di Korea Selatan.
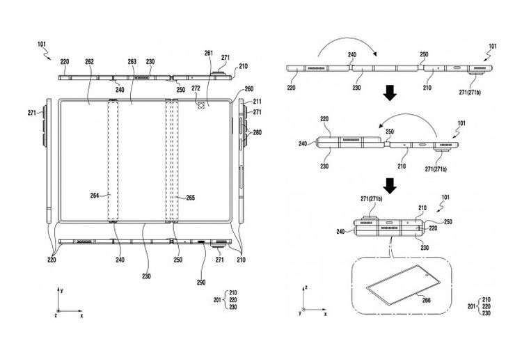
Gambar itu menunjukkan bahwa Galaxy Z TriFold memiliki tiga baterai. Setiap baterainya disematkan pada setiap bagian ponsel yang terbagi dalam tiga lipatan.
Baterai dengan kapasitas terkecil (T1) ditempatkan pada bagian ponsel yang menampung kamera belakang. Kemudian baterai yang kapasitasnya terbesar (T3), dipasang di bagian tengah ponsel. Bagian ini juga menampilkan cover screen alias layar sekunder ponsel.
Sementara itu baterai lainnya (T2) diposisikan di layar paling ujung lainnya. Ketika dilipat, bagian layar ini berada di tengah, diapit oleh bagian layar lainnya.
Dokumen paten ini tak merinci berapa kapasitas baterai yang akan menenagai ponsel lipat tiga ini. Tak dirinci pula berapa output dayanya.
Gambar paten ponsel lipat tiga Samsung Galaxy Z TriFold
Namun boleh jadi kapasitasnya lebih dari Galaxy Z Fold 7 yang memiliki baterai 4.400 mAh dengan dukungan fast charging 25 watt.
Adapun Samsung Galaxy Z TriFold dirumorkan rilis tahun ini. Namun kabarnya ponsel berlayar lipat tiga ini akan tersedia secara eksklusif di Korea Selatan dan China. Ada pula spekulasi yang menyebutkan bahwa perangkat ini juga bakal rilis di Amerika Serikat.
Perlu dicatat bahwa informasi ini baru sebatas bocoran. Paten yang terungkap ke publik juga tidak selalu sesuai dengan produk akhir yang dirilis perusahaan karena yang bisa saja hanya sekedar bagian dari uji coba perusahaan untuk menyiapkan teknologi terbaru.
Pihak Samsung sendiri belum memberikan konfirmasi terkait baterai maupun rincian soal fitur ponsel lipat tiganya, dihimpun KompasTekno dari SamMobile, Senin (13/10/2025).
Bocoran spesifikasi Galaxy Z TriFold
Smartphone layar lipat perdana samsung kabarnya akan bernama Galaxy Z Trifold.
Nama “Galaxy Z TriFold” pertama kali diketahui dari pendaftaran merek dagang di Korea Selatan, sebagaimana dilaporkan oleh GalaxyClub.
Pendaftaran ini mengindikasikan bahwa Samsung kemungkinan besar akan mempertahankan branding "Z" yang sudah populer sebagai lini ponsel lipat, alih-alih memperkenalkan label baru "G Fold".
Gambar paten ponsel lipat tiga Samsung Galaxy Z TriFold
Sebelumnya, nama Galaxy G Fold sempat disebut sebagai kandidat kuat karena sesuai dengan prototipe layar lipat tiga milik Samsung yang diberi nama "Flex G". Nama "Flex G" ini mengacu pada bentuk lipatannya yang menyerupai huruf G.
Galaxy Z TriFold diperkirakan membawa layar depan atau cover screen berukuran 6,5 inci, serta layar utama yang dapat dibentangkan hingga hampir 10 inci.
Dari sisi performa, Galaxy Z TriFold dikabarkan akan ditenagai chipset terbaru Snapdragon 8 Elite generasi baru, dipadukan dengan opsi RAM 12 GB atau 16 GB serta penyimpanan internal yang mencapai 1 TB.
Samsung juga disebut bakal menyematkan konfigurasi tiga kamera belakang dengan kualitas yang mirip Galaxy Z Fold 7, serta sistem operasi Android 16 berbasis antarmuka One UI 8.
Selain itu, mekanisme lipatnya diperkirakan akan menggunakan desain “G-shaped fold” dengan dua engsel kokoh di sisi kiri dan kanan.
Mekanisme ini berbeda dengan lipatan berbentuk “S” pada ponsel Huawei Mate X.
Proses melipatnya dimulai dari panel kiri yang menutup ke arah layar tengah, kemudian panel kanan menutup di atas keduanya, sehingga ketika terlipat rapat perangkat ini menyerupai tumpukan tiga lapisan seperti sandwich.
Layar Galaxy Z TriFold diperkirakan memiliki resolusi Full HD Plus (1.920 x 1.200 piksel).
Selain mode tablet, perangkat ini juga disebut bisa dipakai dalam mode mini-laptop maupun multitasking tiga layar sekaligus.
Misalnya, panel kiri menampilkan galeri, panel tengah menjalankan aplikasi AI, dan panel kanan memutar video YouTube Shorts.
KompasTekno berkesempatan hands-on langsung HP lipat tiga Samsung ini secara eksklusif di acara Computex di Taiwan beberapa bulan lalu. Videonya bisa disimak di bawah ini.
@kompastekno HP lipat tiga Samsung Flex G nih guyss. masih produk konsep. tapi kalau dirilis, harganya berapa ya? #samsung #trifold ? original sound - Tekno Kompascom
Tag: #bocoran #paten #ungkap #samsung #galaxy #trifold #punya #tiga #baterai